![]()
Artykuł usiłuje wyjaśnić zależności występujące między burzliwym rozwojem technik wytwarzania konstrukcji metalowych, a coraz częściej występującymi ich awariami. Tylko nieliczne awarie i uszkodzenia powstają bez bezpośredniego udziału czynnika ludzkiego w czasie przetwarzania materiału w gotowy wyrób (ukryte wady materiałowe, katastrofy, klęski żywiołowe itp.). Podstawowe przyczyny awarii, o różnym zakresie strat (w tym również ludzkich) wynikają z niewłaściwej działalności człowieka w procesie produkcyjnym. Ich powstawanie wynikać może z ignorancji, braku właściwej wiedzy, czy celowej działalności mającej na celu ukrycie wad występujących w wykonywanej konstrukcji. W każdej z omawianych przyczyn odpowiedzialność za zaistniałe awarie obciąża ludzi, którzy do ich wystąpienia doprowadzili i którzy ponoszą za zaistniały stan odpowiedzialność karną, finansową jak i szeroko pojętą odpowiedzialność moralną.
1. WSTĘP
Artykuł jest kontynuacją referatu p.t. "Analfabetyzm techniczny - rzeczywistość czy fikcja" wygłoszonego na XIV Naukowo Technicznej Krajowej Konferencji Spawalniczej organizowanej pod hasłem "Postęp, innowacje i wymagania jakościowe procesów spajania" Międzyzdroje 2008r.
Referat wzbudził zainteresowanie uczestników konferencji i jest - lub będzie - wydrukowany w czasopismach spawalniczych. Poruszana w tym opracowaniu tematyka dotyczyła tylko wąskiego zakresu zagadnień związanych ze znajomością - lub jej brakiem - uwarunkowań wpływających na przebieg procesu technologicznego i wynik jakościowo - ekonomiczny produkcji wyrobu finalnego.
Opracowanie niniejsze ma na celu uzupełnienie omawianych w referacie zagadnień, ze szczególnym uwzględnieniem świadomego oddziaływania czynnika ludzkiego na jakość produkcji i związaną z tym bezpieczną eksploatację wytworzonej konstrukcji.
2. PRACE PRZEDPROJEKTOWE - KONTRAKT
Problemy wynikające z niewłaściwego podejścia do prac przedprojektowych, rzadko są omawiane na łamach prasy fachowej. Przygotowując odpowiedź na zapytanie ofertowe, decydenci powinni przeprowadzić szczegółową analizę możliwości (i trudności) wykonania konstrukcji w określonym czasie i o wymaganej jakości. Analiza taka winna obejmować w pierwszym rzędzie następujące zagadnienia:
- wstępny harmonogram produkcji,
- rodzaj produkcji - jednostkowa o dużej pracochłonności czy wielkoseryjna z małym lub średnim obciążeniem godzinowym pojedynczych wyrobów,
- możliwości kadrowe w rozbiciu na poszczególne zawody, wymagane uprawnienia i okres niezbędny dla uzupełnienia niedoborów,
- czas niezbędny dla realizacji zlecenia w rozbiciu na poszczególne etapy produkcji z uwzględnieniem obciążenia pracochłonnością w kolejnych miesiącach,
- możliwości terminowej dostawy materiałów i urządzeń zgodnie z harmonogramem produkcji,
- niezbędna odpowiednio uzbrojona, oprzyrządowana udźwigowiona powierzchnia produkcyjna,
- posiadany sprzęt, możliwości finansowe i terminowe uzupełnienia,
- możliwości współpracy kooperacyjnej, zabezpieczającej wymagania jakościowe w szerokim zrozumieniu tego problemu (dopuszczenia, uprawnienia, pełna kontrola itp.)
- zgodności projektu, czy konstrukcji wykonywanej za granicą z obowiązującymi w Polsce przepisami czy normami.
Wydawać się może, ze przypominanie prawd tak oczywistych, realizacja, których winna być regułą w przedsiębiorstwach o w miarę opanowanej produkcji z ustabilizowaną sytuacją kadrową jest niecelowa. Liczne przykłady potwierdzają jednak fakt, że analizy tego typu nie zawsze są podstawą do przyjęcia (ub. odrzucenia) zamówienia.
W latach siedemdziesiątych ubiegłego wieku, przedsiębiorstwo o ustabilizowanej produkcji, zatrudniające kilka tysięcy osób (w tym kilkuosobowy dział planowania operatywnego) podjęło się wykonania wielkogabarytowej konstrukcji stalowej, pracochłonność wykonania, które wyliczono na około 1 milion roboczogodzin z terminem realizacji 12 miesięcy.
Rys.1. Planowany i rzeczywisty rozkład pracochłonności.
Planiści niefrasobliwie podzielili wyliczoną pracochłonność przez ilość miesięcy i przez 200 roboczogodzin (miesięczne obciążenie pracownika z nadgodzinami) i wynik przełożył się na niezbędne zatrudnienie wynoszące 420 pracowników bezpośredniej produkcji.
"Planistom" uciekł z uwagi na fakt, że przy produkcji jednostkowej konstrukcji o dużej pracochłonności, obciążenie rozkłada się nie wg linii prostej, o stałej wielkości w poszczególnych miesiącach, a wg krzywej Gaussa (rys.1). Spowodowało to spiętrzenie prac, a okresie, w którym skomasowały się wszystkie podstawowe operacje technologiczne (obróbka, prefabrykacja, montaż, spawanie, prostowanie itp.). Wystąpił niedobór wykwalifikowanych pracowników jak i sprzętu niezbędnego do realizacji zamówienia i obniżenie jakości wykonywanych prac. Plan produkcyjny załamał się, ze wszystkimi wynikającymi z tego konsekwencjami - niedotrzymanie terminów, kary umowne, utrata wiarygodności itp., Ponieważ podstawowym motywem przyjęcia zlecenia (bez uprzedniego rozeznania możliwości) były dewizy (zamówienie ze Szwecji) zamiast planowanych zysków wystąpiły nieplanowane straty.
3. PRACE PROJEKTOWE
Zgodnie z dyrektywami Unii Europejskiej projektant jest traktowany jako producent ze wszystkimi wynikającymi z tego faktu konsekwencjami. Prace projektowe wymagają dokładnej znajomości tworzywa, które ma być w konstrukcji zastosowane. Dotyczy to nie tylko charakterystyk materiału w stanie surowym - lecz również - a nawet przede wszystkim, po ich przetworzeniu w gotową konstrukcję. Dotyczy to szczególnie materiałów, które po przetworzeniu w gotowa konstrukcję mogą mieć własności całkowicie różne od charakterystyk początkowych.
Problem ten określił prof. J. Senkara (1) stwierdzając, ze procesy związane z tworzeniem konstrukcji spawanej niszczą dotychczasową strukturę materiału, otrzymywaną w większości przypadków w wyniku obróbki plastyczno - cieplnej.
Materiał wejściowy podzielony jest spoinami o strukturze lanej, o odmiennych własnościach wytrzymałościowych i strukturalnych i bardzo często o odmiennym składzie chemicznym. Na powyższe zjawiska nakładają się dodatkowo naprężenia spawalnicze o różnej wielkości.
Nie bez znaczenia jest również znajomość oddziaływania środowiska, w którym wytworzona konstrukcja będzie pracować. Metalurdzy uważają, że opracowywane przez nich coraz doskonalsze i bardziej wytrzymałe materiały, w trakcie ich przetwarzania - z zastosowaniem technik spawalniczych - degradują się i cała ich robota jest zaprzepaszczona.
Opracowywane materiały konstrukcyjne są zawsze kompromisem między poszczególnymi wymaganiami stawianymi dla końcowego wyrobu, który ma być wytrzymały, lekki, odporny na korozję, estetyczny, tani i technologicznie prosty.
Podstawowym kryterium bezpiecznej konstrukcji spawanej jest zapewnienie bezawaryjnej eksploatacji w założonym przedziale czasowym. Warunek taki może spełniać konstrukcja, w złączach spawanych, której nie występuje skłonność do tworzenia się pęknięć, a tym bardziej, gdy pęknięcia takie nie występują.
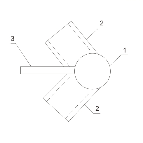
Dr P. Sendek (3) podał przykład rozwiązania konstrukcyjnego węzła nośnego zadaszenia hali widowiskowej (rys.2).
Rys.2. Uproszczony rysunek węzła nośnego zadaszenia hali widowiskowej.
- Wał pełny Ø 508 mm
- Rury grubościenne Ø zewn. 508 mm - grubość ścianki 50 mm
- Blacha węzłowa
Na elementy węzła składały się: wał pełny o średnicy 508 mm, rury grubościenne o średnicy zewnętrznej 508 mm i grubości ścianki 50 mm i blachy węzłowe o grubości 60 i 100 mm. Rozwiązanie konstrukcyjne tego typu spowodowało wystąpienie następujących trudności wykonawczych:
- brak możliwości precyzyjnej obróbki rur (przenikanie walców) i wynikającymi z tego dużymi odchyłkami montażowymi i przewymiarowaniem spoin,
- utrudnione (a niezbędne) podgrzewanie wstępne węzła, ze względu na złożony jego kształt i duże grubości łączonych elementów węzeł wykonano ze stali S 355J2 G3 o ograniczonej (przy tych grubościach elementów) spawalności.
- konieczność wykonania spoin o dużej grubości - odpowiedniej do łączonych elementów - często nakładających się na siebie, lub krzyżujących się,
- utrudnione wykonanie pełnojakościowych spoin wewnątrz rur ze względu na dostęp,
- trudności w przeprowadzeniu kontroli nieniszczącej zapewniającej wykrycie wad wewnętrznych w spoinach.
Spowodowało to wystąpienie pęknięć, pomimo, że dobór materiału konstrukcyjnego można uznać za prawidłowy. Pęknięcia wywołane zostały koncentracją naprężeń, wynikającą z wymiarów spoin i skupienia ich na niewielkiej przestrzeni i nakładania ich na siebie, oraz brak możliwości przeprowadzenia kontrolowanego podgrzewania wstępnego.
Panująca powszechnie opinia o komputerze jako o niezawodnym "robocie do projektowania" bardzo często nie wytrzymuje konfrontacji z realiami produkcji. Komputer jest tylko wykonawcą poleceń, przekazanych mu przez projektanta, wykona z dużą precyzją wymagane obliczenia, nie potrafi jednak odpowiedzieć na pytanie, czy wprowadzone do obróbki dane stanowią optymalne rozwiązanie dla danego typu konstrukcji (i nie zaproponuje innego lepszego rozwiązania), czyli mówiąc trywialnie czy będzie z tego dobra konstrukcja.
Dla wykonawcy, a szczególnie eksploatatora jest bardzo ważne, na ile wykonana konstrukcja odbiega od opracowanej i zaprojektowanej - dla warunków optymalnych - przez komputer.
Do komputera wprowadza się "chęci", tzn. to, co chcemy otrzymać przyjmując optymalne warunki realizacji tego zadania, podczas, gdy w znakomitej większości przypadków realizacja w mniejszym lub w większym stopniu zmienia wyliczone układy wytrzymałościowe gotowej konstrukcji. Niedokładna obróbka krawędzi, montaż z odchyłkami większymi niż przewidują obowiązujące normy, (na których bazuje zarówno projektant jak i komputer), powoduje wzrost naprężeń, które często mogą przekroczyć wartości dopuszczalne. Często przyjmuje się do realizacji najtańszy wariant konstrukcji, bez szczegółowej analizy poszczególnych etapów jej wytwarzania i wpływu na końcowy efekt produkcyjny.
Konstruktor podejmując się realizacji projektu powinien uwzględniać nie tylko własności materiału przewidzianego do wykonania konstrukcji, lecz również szczegółowo przestudiować wpływ czynników, które mogą oddziaływać na to urządzenie w czasie jego eksploatacji (chemikalia, para wodna, płyny ze ścierniwem, pyły itp.). W przypadku urządzeń i instalacji będących w powszechnej eksploatacji (wielka chemia, energetyka, przetwórstwo minerałów, metalurgia itp.) informacji na te tematy można znaleźć bez problemów w publikacjach i Internecie, istnieją jednak gałęzie produkcji, w których występują specyficzne problemy wynikające z oddziaływania mediów na eksploatowaną konstrukcję. Przykładem potwierdzającym konieczność prowadzenia analiz tego typu, było stwierdzenie agresywnego oddziaływania lutów cynowych (Sn Ag 3,8 Cu 07 i Sn Cu 07) na elementy urządzeń do lutowania kąpielowego. Cyna w powszechnej opinii uważana jest za materiał o własnościach antykorozyjnych, okazuje się jednak, że w określonych warunkach (podwyższona temperatura - powyżej 500°C) ma ona silne własności korozyjne. W wyniku działania gorącej cyny na elementy urządzeń lutowniczych następuje szybka ich degradacja i zanieczyszczenie kąpieli lutowniczej. Okres eksploatacji urządzeń z miedzi, stali niestopowej i stopowej był bardzo krótki, dopiero zastosowanie tytanu spowodowało wydłużenie czasu pracy. Wydawać się mogło, że cyna stosowana do lutowania właśnie miedzi i stali nie powinna negatywnie oddziaływać na te metale, jednak ze wzrostem temperatury cyny rośnie jej agresywne oddziaływanie, prowadząc częstokroć do drastycznych skutków, czego nie był świadom projektant.
Na podstawie analiz licznych awarii trudno zgodzić się z opinią dr. P. Sendka (3), że błędy projektowania rzadko są przyczyną awarii konstrukcji, gdyż wg. dokumentów Niemieckiego Ministerstwa Nauki i Technologii "zabezpieczenie jakości 75% niezgodności (wad) wyrobów powstaje na etapie projektowania, konstruowania oraz opracowania dokumentacji technicznej (5). Potwierdza to prof. A Hobbacher (6) podając, że występują trzy główne przyczyny uszkodzeń konstrukcji: zmęczenie materiału, korozja i zużycie i z grubsza 80% tych uszkodzeń jest spowodowane niewłaściwym projektowaniem, a z tego 70% to pęknięcia typu zmęczeniowego.
PRODUKCJA
W przypadku prac projektowych możliwości ingerencji decydentów na przebieg tych prac są ograniczone: przepisami, normami, obliczeniami, praktyką, nadzorem, itp. uwarunkowaniami, co wcale nie oznacza, że takich ingerencji niema. Projekty tworzone są często w oderwaniu od przyszłego wykonawcy i nie uwzględniają specyfiki i możliwości zakładu, który ten projekt będzie realizował. W zakładzie produkcyjnym, do którego dociera projekt do realizacji - w większości przypadków - rozpoczynają się tzw. "prace adaptacyjne", mające na celu dostosowanie konstrukcji do możliwości produkcyjnych, dokonanie zmian, poprawek, uproszczeń dla jej udoskonalenia, wyeliminowania pewnych operacji, a tak naprawdę, aby zmienić całość na coś tańszego. W zakładach, których produkcja jest nadzorowana przez instytucje zewnętrzne, działalność taka jest ograniczona, istnieje jednak wiele dróg, które pozwalają przepisy obejść, a inspektorów mówiąc kolokwialnie "wykołować".
Następnie rozpoczyna się tzw. "przegląd magazynowy" i działania ustalające, co można zastosować w produkcji z zapasów magazynowych. W przypadku konieczności udokumentowania jakości materiałów i przedłożenia odpowiednich atestów wywierane jest na dostawców naciski, aby wynaleźli w swoich kartotekach - odpowiadające przywołanym w projekcie materiałom - atesty i problem jakości materiałów podstawowych uważa się za załatwiony.
W przypadku braku zapasów magazynowych, rozpoczynają się naciski na konstruktora, aby zmienił przywołane materiały na inne, tańsze, przy czym jakiekolwiek wyjaśnienia i argumenty, że może to obniżyć jakość konstrukcji, są bardzo niechętnie przyjmowane przez wykonawców do wiadomości.
W przypadku zlecenia do wykonania w kooperacji elementów konstrukcji, do wyjątków należy sprawdzanie technicznej i jakościowej wiarygodności podwykonawców. Bardzo często są to tzw. "formy garażowe", bez zaplecza sprzętowego i odpowiednio przeszkolonej kadry. Nie mogą one zapewnić wymaganej jakości wyrobów. Na jednym z zebrań Pomorskiej Sekcji Spawalniczej omówiony był przypadek awarii urządzenia zamontowanego w instalacji przetwarzania ropy naftowej. Awaria spowodowała konieczność przerwania produkcji i bardzo duże straty finansowe. W czasie analizy przyczyn powstania awarii stwierdzono, że zastosowany materiał (niewiadomego pochodzenia) odbiegał swoimi właściwościami od materiału przywołanego w projekcie, a łańcuch kooperantów, którzy kolejno zlecali wykonanie prac (jak pałeczkę w sztafecie), kończył się w warsztacie ślusarskim w Pakistanie.
Wg. obowiązujących w Unii Europejskiej przepisów, generalny wykonawca odpowiada za jakość całej konstrukcji, w tym również za elementy dostarczone w ramach kooperacji. Dlatego w interesie generalnego wykonawcy jest sprawdzenie wiarygodności wszystkich podwykonawców. Powyższe najlepiej ilustruje fakt zlecenia wykonania - niesprawdzonej firmie - zbrojenia konstrukcji żelbetowej, przy wykonawstwie, której popełnione zostały wszystkie możliwe (dla tego rodzaju konstrukcji) błędy, uchybienia i odstępstwa od technologii. W wyniku działań tego typu, konstrukcja wykonana z wysokowytrzymałej stali została złomowana (7). Należy tu zaznaczyć, że w/w konstrukcja była przeznaczona do zbrojenia żelbetowej konstrukcji mostowej, z której w przyszłości mieli korzystać również i wykonawcy zbrojenia.
Problem pracowników (spawaczy) z uprawnieniami od lat występuje w przemyśle. Z reguły ilość spawaczy jest stabilna, z tym, że z zakładu odchodzi wykwalifikowana kadra, a na jej miejsce przychodzą ludzie młodzi, bez koniecznego doświadczenia i praktyki. Do normalnej praktyki należy zjawisko, gdy "starzy" spawacze swoimi uprawnieniami zgłaszają do akceptacji prace wykonane przez spawaczy bez uprawnień, często z dość egzotycznych części świata.
Przeprowadzenie badań nieniszczących, za pomocą kontroli rentgenowskiej w wielu przypadkach jest wielką fikcją, gdyż nadzór produkcyjny dokładnie zna miejsca, gdzie wykonywane będą zdjęcia i tam pracują najlepsi spawacze. Miejsca, gdzie " ryzyko" kontroli rentgenowskiej jest znikome, wykonują w tym przypadku pracownicy z mniejszym lub wręcz małym doświadczeniem.
Stosowanie tzw. "tanich technologii" pociąga często za sobą odwrotne od zamierzonych skutki.
Cięcie plazmą powietrzną jest bezsprzecznie najtańszą z metod obróbki krawędzi do spawania, ma ona jednak podstawową wadę w postaci naazotowania ciętych powierzchni. Powoduje to konieczność dodatkowej obróbki tych krawędzi w celu usunięcia warstwy naazotowanej, gdyż powoduje ona tworzenie się w spoinie porowatości o natężeniu dyskwalifikującym złącze. Fakt tworzenia się warstwy naazotowanej, przy cięciu plazmą powietrzną, i jej wpływu negatywnego na jakość spawania, jest przez większość producentów urządzeń do cięcia jest dyskretnie przemilczany w publikacjach reklamowych.
PODSUMOWANIE
Dla każdej konstrukcji eksploatowanej przez człowieka istnieją dwa podstawowe kryteria jej oceny: pewność (bezpieczeństwo i ryzyko. Są to dwa wzajemnie sprzeczne uwarunkowania, gdyż bezpieczna (pewna) konstrukcja zmniejsza wystąpienie ryzyka do minimum.
Przykładem, choć z innej dziedziny jest ryzyko lotu samolotem, które występuje w stosunku jeden do kilkunastu milionów pasażerów. Praktycznie ryzyko lotu jest mniej niż minimalne, gdyż nad zapewnieniem bezpieczeństwa lotu pracuje ogromna grupa ludzi, której zadaniem jest takie przygotowanie samolotu - od chwili jego wyprodukowania do ostatniego rejsu - aby ryzyko takie nie wystąpiło.
Jak wynika z przytoczonych w niniejszym opracowaniu przykładów, na każdym etapie działania produkcyjnego głównym czynnikiem mogącym spowodować awarię wykonanej konstrukcji jest człowiek i to niezależnie od stopnia jego świadomości w chwili podejmowania decyzji. Stopień świadomości decydenta nie powinien być w żadnym przypadku usprawiedliwieniem czy rozgrzeszeniem go za zaistniałe wypadki. Niedouczony konstruktor, projektujący bez znajomości stosowanego tworzywa czy technologii powinien ponosić pełną odpowiedzialność za zaistniałe awarie, które wynikły z błędów projektowych. Kierownik budowy sprawujący nadzór nad pracami spawalniczymi, a często nieposiadający nawet podstawowej wiedzy o specyfice tych prac powinien i musi odpowiadać za swoje decyzje.
Decydent - menadżer realizujący, lub polecający realizację - bez sprawdzenia - projekt opracowany poza jego przedsiębiorstwem, jest zobowiązany odpowiednimi przepisami do sprawdzenia, czy spełnia on wszystkie zalecenia, normy i jest opracowany zgodnie ze sztuką projektową. Przepisy polecające realizację takiej kontroli są rzadko stosowane w praktyce, a zwalanie całej winy na "mokry śnieg" jest zwykłym mydleniem oczu dla ukrycia własnej ignorancji i nieuctwa.
Decydenci bardzo wysokiego szczebla sprzeciwiający się wprowadzeniu nadzoru budowlanego przy odpowiedzialnych pracach budowlanych - w przypadku katastrofy - powinni ponosić pełną karną i moralną odpowiedzialność za zaistniałe straty. To samo powinno decydentów niższych szczebli, którzy świadomie wprowadzają do eksploatacji z wadami mogącymi spowodować awarie. Przykłady wpływu człowieka na jakość i niezawodność konstrukcji - podane w niniejszym opracowaniu mają uzmysłowić powagę zagadnienia. Wpływ ten w większości przypadków nie jest podyktowany chęcią wykonania dobrej konstrukcji, ale chęcią sprzedania wyrobu przy możliwie najwyższym zysku. Sprawa bezpiecznej eksploatacji wykonanej konstrukcji schodzi w tym przypadku na plan dalszy. Wiadomym jest powszechnie, że wykonanie idealnej - bez wad - spoiny jest praktycznie niemożliwe, gdyż sama spoina stanowi swego rodzaju karb strukturalny, mający wpływ na jakość złącza i całej konstrukcji. Fakt ten jest ogólnie znany i w większości przypadków jest uwzględniany w fazie obliczeń projektowych. Określenie ilości, wielkości i charakter dopuszczalnych wad zależy od rodzaju, przeznaczenia i obciążeń wykonywanej konstrukcji. Złącza spawanych zbiorników nieciśnieniowych, obudowy maszyn stacjonarnych itp. konstrukcje mogą mieć łagodniejsze kryteria odbioru niż konstrukcje narażone na duże obciążenia dynamiczne o zmiennym charakterze. Wynika to z faktu, że w pierwszym przypadki będzie to utrata mediów magazynowanych w zbiornikach, czy wyłączenie maszyny z eksploatacji, w drugim może spowodować katastrofę o nieobliczalnych skutkach. W większości przypadków na przyczyny awarii składa się cały szereg czynników, począwszy od błędnych - lub celowych - decyzji menadżerskich, złego zaprojektowania konstrukcji i technologii wykonania, samego wykonania i odbiorów końcowych. Wszystkie ogniwa mogą mieć wpływ na końcowy stan jakościowy konstrukcji, a realizatorzy tych ogniw ponoszą odpowiedzialność za rzeczywiste - lub mogące nastąpić katastrofy.
Na zakończenie warto podkreślić, że realizatorzy wykonania jakościowo złej konstrukcji mogą w przyszłości być jej eksploratorami ze wszystkimi wynikającymi z tego konsekwencjami.
Artykuł początkowo był pomyślany jako traktat o moralnych aspektach opisanych wyżej poczynań, jednak opisane fakty naświetlają w sposób jednoznaczny istotę problemu, a ocenę moralną pozostawiam czytelnikom.
LITERATURA
- J. Senkara "Czy złącze musi być najsłabszym miejscem konstrukcji?"
Biuletyn Instytutu Spawalnictwa 5/2003 - K. Madej "Pęknięcia spawanych stalowych konstrukcji budowlanych w świetle niemieckich norm i wytycznych"
Biuletyn Instytutu Spawalnictwa 2/2007 - P. Sendek " Błędy projektowania przyczyną awarii konstrukcji spawanych" Seminarium pt. Konsekwencja nieprzestrzegania wymaganych procedur spawania. Przykłady, zalecenia"
Instytut Spawalnictwa luty 2005 - Z. Mirski "Agresywne oddziaływanie lutów bezołowiowych i zabezpieczenie urządzeń lutowniczych przed zniszczeniem".
H. Drzeniek Przegląd Spawalnictwa 7/2008
T. Wojdat - E. Bąk " Przykłady uszkodzeń elementów naczyń wyciągowych"
A. Kawka Spajanie metali i tworzyw sztucznych w praktyce 1/2008 - A. Hobbacher "Kierunki rozwoju technik spawania i łączenia w wykonawstwie
wyrobów niezawodnych i ekonomicznych"
Biuletyn Instytutu Spawalnictwa 2/2004 - M Szubryt "Jakość handlowa czy jakość rzeczywista?"
M. Wińcza Biuletyn Instytutu Spawalnictwa 5/2007
mgr inż. Michał Wińcza
Czy artykuł był dla Ciebie przydatny?
Chcesz otrzymywać informację o nowych artykułach? Zostaw nam swój e-mail.


